ONETEST 欢迎您
国产高速ADC百花齐放,超6家厂商量产GSPS级高速高分辨率模数转换器
- 分类:焦点推荐
- 作者:
- 来源:
- 发布时间:2026-01-06 15:14
- 访问量:1153


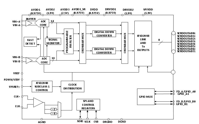
BL1049系列产品支持直接采样高达3.5 GHz的宽带宽模拟信号的通信应用。双通道ADC内核采用多级差分流水线架构,并集成了输出纠错逻辑。每个ADC均具有宽带宽输入,支持各种用户可选输入范围。集成电压基准简化了设计考虑,同时模拟输入和时钟信号为差分输入。数据输出可通过交叉多路复用器在内部连接到四个数字下变频器(DDC)。每个DDC由多个级联信号处理级组成:一个48位频率转换器(数控振荡器(NCO))和多级级联实现的抽取滤波器。
NCO可以通过在通用输入/输出(GPIO)引脚选择多达三个频段。BL1049系列的DDC工作模式可通过SPI可编程配置选择。
用户可以将JESD204B高速串行输出配置为单通道、双通道、四通道和八通道,具体取决于DDC配置和接收逻辑器件的可接受通道速率。通过SYSREF±和SYNCINB±输入引脚支持多器件同步。芯片串行接口速率最高支持16Gbps。


高采样率与宽输入带宽:芯片支持最高2.6 GSPS的采样率,并拥有6 GHz的模拟输入带宽。这使其能够直接捕获更高频率的信号,简化了系统前端设计。
优异的动态性能与灵活性:该芯片在高速采样下保持了良好的信噪比(SNR)和无杂散动态范围(SFDR),例如在2.4GSPS时,SNR优于55.5 dBFS,SFDR可达70 dBFS。其-147 dBFS/Hz的低噪声谱密度,保证了宽带采样时的信号纯净度。此外,14位分辨率支持切换至12位模式,为用户在不同带宽和精度需求间提供了配置灵活性。
集成数字处理,减轻系统负荷:每个ADC通道都集成了包含48位NCO和可编程抽取滤波器的数字处理模块。这意味着可在芯片内部直接完成频率搬移与降采样,大幅减少后续FPGA的数据处理压力和系统功耗。
高速接口与高能效:芯片采用JESD204B高速串行接口,确保海量数据的稳定传输。在功耗方面,其双通道在2.4/2.6 GSPS下的典型总功耗仅为1.1W至1.2W,高能效比有助于缓解高速系统的散热压力。


产品分类:聚焦宽频带低延迟
产品型号:AAD08S040G
产品功能:40Gsps 8bit 模数转换器
采样率:40Gsps
分辨率:8Bits
通道数:单
带宽:输入18GHz
接口形式:输出:Serdes
封装形式:BGA225/BGA316
应用领域:1. 仪器仪表 / 2. 宽频通信 / 3. 航空航天 / 4. 高速数据采集
产品分类:聚焦宽频带低延迟
产品型号:ADA08S040G
产品功能:40Gsps 8bit 模数模转换器
采样率:40Gsps
分辨率:8Bits-40G/12Bits-20G
通道数:单
带宽:输出:18GHz
接口形式:输出:Serdes
封装形式:BGA256
应用领域:1. 仪器仪表 / 2. 宽频通信 / 3. 航空航天
产品分类:高精度产品
型号:AAD161250K
产品功能:250Ksps 16bit 六通道模数转换器
采样率:250Ksps
分辨率:16Bit
通道数:6
带宽:/
接口形式:SPI/QPSI/Microwire/DSP
封装形式:LQFP64
应用领域:1. 工业测量 / 2. 电机控制 / 3. 电力监控
产品分类:聚焦宽频带低延迟
产品型号:AAD08Q2500
产品功能:10Gsps 8bit 模数转换器
采样率:2.5/5/10Gsps
分辨率:8Bits
通道数:4/2/1
带宽:模拟输入:DC~6GHz
接口形式:输出:LVDS
封装形式:BGA392
应用领域:1. 仪器仪表 / 2. 航空航天 / 3. 高速数据采集
产品分类:聚焦宽频带低延迟
产品型号:AAD01S040G
产品功能:40Gsps 1bit 模数转换器
采样率:40Gsps
分辨率:1Bits通道数:单
带宽:输入:0.1~18GHz
接口形式:输出:Serdes
封装形式:QFN48
应用领域:1. 快速频率测量 / 2. 航空航天
产品分类:聚焦宽频带低延迟
产品型号:AAD08S010G
产品功能:10Gsps 8bit 模数转换器
采样率:10Gsps分辨率:8Bits
通道数:单
带宽:高输入:DC~8GHz
接口形式:输出:LVDS
封装形式:BGA392
应用领域:1. 仪器仪表 / 2. 航空航天 / 3. 高速数据采集
产品分类:聚焦宽频带低延迟
产品型号:AAD08D2500
产品功能:5Gsps 8bit 模数转换器
采样率:2.5/5Gsps
分辨率:8Bits
通道数:2/1
带宽:输入:DC~3.5GHz
接口形式:输出:LVDS
封装形式:BGA380/LQFP144
应用领域:1. 仪器仪表 / 2. 航空航天 / 3. 高速数据采集
产品分类:聚焦宽频带低延迟
产品型号:ADA08S010G
产品功能:10Gsps 8bit 模数模转换器
采样率:10Gsps
分辨率:8Bits
通道数:单
带宽:输出:DC~10GHz
接口形式:输出:LVDS
封装形式:BGA392
应用领域:1. 电子对抗 / 2. 信号模拟器 / 3. 宽频通信
产品分类:聚焦宽频带低延迟
产品型号:ADA12S6000
产品功能:6Gsps 12bit 数模转换器
采样率:6Gsps分辨率:12Bits
通道数:单
带宽:输出:DC~6GHz
接口形式:输入:LVDS
封装形式:BGA392
应用领域:1. 航空航天 / 2. 信号模拟器 / 3. 宽频通信
产品分类:高速高精度
产品型号:AAD12S3000
产品功能:3Gsps 12bit 模数转换器
采样率:3Gsps
分辨率:12Bits
通道数:单
带宽:输入:2.5GHz
接口形式:输出:JESD204B
封装形式:QFN68
应用领域:1. 仪器仪表 / 2. 宽频通信系统 / 3. 高速数据采集 / 4.4G/5G 移动基站
产品分类:高速高精度
产品型号:AAD12D2000
产品功能:2Gsps 12bit 双通道模数转换器
采样率:2Gsps
分辨率:12Bits
通道数:2
带宽:输入:2.5GHz
接口形式:输出:JESD204B
封装形式:QFN68
应用领域:1. 仪器仪表 / 2. 宽频通信系统 / 3. 高速数据采集 / 4.4G/5G 移动基站
产品分类:高速高精度
产品型号:AAD12Q0250
产品功能:1Gsps 12bit 模数转换器
采样率:250/500Msps/1Gsps
分辨率:12Bits
通道数:4/2/1
带宽:/
接口形式:输出:LVDS / 输入:内置 4×4 MUX
封装形式:QFN68
应用领域:1. 示波器 / 2. 高速数据采集 / 3. 激光雷达

分辨率: 12-bit, 无失码 (no missing code) 采样率: CAE2500: 4Gsps or 2Gsps (双通道模式) CAE2600: 2Gsps or 1Gsps (双通道模式) CAE2700: 1Gsps 或 0.5Gsps (双通道模式) 通道数: 1 或 2 输入电压范围 [Vpp,diff]: 0.8V (typ), 1V (max) 模拟输入带宽 (-3dB): 3.0 GHz 误码率 (Code error rate): < 10⁻¹⁵ 信噪比 SNR @ 1.09GHz, -1dBFS: CAE2500: 52.1 dBF S (0.8V), 53.6 dBF S (1.0V) CAE2600: 55.1 dBF S (0.8V), 56.9 dBF S (1.0V) CAE2700: 58.6 dBF S (0.8V), 60.0 dBF S (1.0V) 无杂散动态范围 SFDR @ 1.09GHz, -1dBFS: CAE2500: 75.8 dBF S (0.8V), 74.4 dBF S (1.0V) CAE2600: 73.6 dBF S (0.8V), 74.1 dBF S (1.0V) CAE2700: 75.6 dBF S (0.8V), 75.0 dBF S (1.0V) 有效位 ENOB @ 1.09GHz, -1dBFS: CAE2500: 8.4b (0.8V), 8.6b (1.0V) CAE2600: 8.8b (0.8V), 9.1b (1.0V) CAE2700: 9.4b (0.8V), 9.6b (1.0V) 最多 16 通道 JESD204B 输出,最大通道速率 10.0Gbps,支持 8b/10b 编码,支持子类 1 确定性延迟 可选数字下变频器 (DDC) 模拟输入通道过压保护 片内温度二极管 工作温度: -40 to 115°C FCBGA196 (12mm x 12mm)
分辨率: 12-bit , 无失码 (no missing code)
采样率:
2025年9月2日,成都华微重磅发布4通道12位40GSPS高速高精度射频直采ADC

多达 4 个通道,支持多通道同步; 4 通道模式采样率 24~40GSPS 可配,双通道模式采样率 48~80GSPS 可配; 输入模拟带宽高达 19GHz; JESD204C 高速串口输出; 具有高可靠性。
2025年6月11日,成都华微推出国内独家4通道12位16GSPS高速高精度A/D转换器

通道数可达 4 通道 支持芯片内和芯片间多通道同步功能 单通道支持采样率 6~16GSPS 可配置 输入模拟带宽高达 10GHz 32 对 JESD204C 高速串行接口 噪声频谱密度 NSD 低至 - 155dBFS/Hz 传输延迟 < 100ns 通道时钟相位 360 度可调,调相精度 10fs

重庆吉芯科技有限公司是国家级专精特新“小巨人”企业、国家高新技术企业、重庆市新型高端研发机构。国内领先的模数混合信号集成电路设计公司,以高性能模数混合信号类集成电路为核心,并以此拓展IP、RF-SoC、微系统等技术、产品和解决方案。
2025年第一季度实现国内首款产品化 12 位射频直接采样解决方案该芯片为采样率>10.25GSPS 的宽带直接采样系统提供优异的解决方案。产品以处理器内核为基础可实现灵活的软件定义,其高性能射频转换器核心的电参数性能和集成度处于国内最先进水平。
普源精电、联讯仪器等仪器厂家也加入自研自用行列。普源精电在 “凤凰座”“半人马座” 自研芯片组中集成高速 ADC 模块,其 SDS7000A 系列示波器凭借 16GSa/s 实时采样率、12 位分辨率,将 1GHz 输入频率下的 ENOB 提升至 8.2,接近国际同类产品水平。联讯仪器更是突破高端芯片瓶颈,2023 年推出搭载自研 50GHz 采样保持放大器芯片的采样示波器并大规模出货,2025 年发布的 65GHz 采样示波器已适配 1.6T 高速光模块测试,核心电路架构与算法均自主可控。这种自研自用模式既让 ADC 性能与设备深度匹配,又进一步降低了对进口芯片的依赖,完善了国产高速 ADC 的产业生态。
严选商城聚焦坚守工匠精神的细分领域优质产品,通过实地考察调研、多维度资质审核、实验室专业测试等层层筛选,为用户精准严选中小微型仪器、测试附件/模块/组件、天线/电源/机箱等系统集成核心组件,搭建供需双方双向奔赴的信任桥梁与价值共同体。若您是深耕细分赛道、秉持工匠精神的优质企业,诚邀入驻严选商城,向全球用户传递高品质产品与专业服务,欢迎联系洽谈合作!
个人中心
粤公网安备44030902003758